北京银行“踩雷”房地产:31亿房企坏账“割肉清仓”,涉房信贷合规风险突出
日前,北京银行上海分行公开转让一家房地产企业不良债权9.31亿元,该房企已沦为失信被执行人,涉案总金额644.84 万元,被执行人的履行情况为“全部未履行”。
此前,北京银行太阳宫支行22.12亿元房地产不良债权挂牌转让,其中仅利息就超过12亿元。该房企现存10条失信被执行人信息,涉案总金额 837.10 万元,被执行人的履行情况为“全部未履行”。该公司258次被法院限制高消费,涉案总金额高达22.37亿元。
尽管北京银行多次强调“加大房地产、地方政府融资平台、中小金融机构、产能过剩、互联网贷款等重点领域管控力度”,但2022年以来该行的房地产业贷款规模却持续增加,且业务规模行业排名始终保持在前五名内,该行对房地产业贷款的依赖程度由此可见一斑。记者了解到,北京银行还多次因房地产信贷业务违法违规被罚,涉及该行总行及北京、西安、长沙、宁波、青岛等多个重要城市的一级分行。
加速出清房地产坏账3月2日,北京银行上海分行发布公告称,该行拟公开转让上海众弘置业发展有限公司(简称“众弘置业”)不良债权9.31亿元,其中债权本金8.00亿元、利息1.31亿元、费用28.78万元。
据了解,北京银行上海分行上述债权的贷款五级分类为“次级”,抵押物类型为商业用房、在建工程。该行介绍“资产亮点”称,“项目占地面积4.6万方,建筑面积27万方,涵盖写字楼、一栋五星级酒店、一栋四星级酒店和地下商业广场。写字楼以国家绿色建设三星标准设计制造,园区大部分已实景呈现。”

图片来源:中国执行信息公开网
公开信息显示,众弘置业为富力地产(02777.HK)旗下企业,由上海富力房地产开发有限公司持股99.90%。该公司目前已沦为失信被执行人,现存6条失信被执行人信息,涉案总金额 644.84 万元。该公司失信被执行人行为具体情形为“有履行能力而拒不履行生效法律文书确定义务”、“违反财产报告制度”,被执行人的履行情况为“全部未履行”。该公司及其法定代表人10次被法院限制高消费,涉案总金额1097.39 万元。
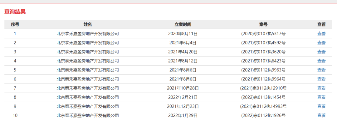
此前,2025年12月,某银行在北京产权交易所挂牌转让北京泰禾嘉盈房地产开发有限公司(简称“泰禾嘉盈房地产”)22.12亿元债权,其中本金9.92亿元,利息12.19亿元,其他费用77万元。
债权转让公告显示,泰禾嘉盈房地产以该公司名下北京市石景山区鲁谷路51号院1号楼580套不动产、3号楼434套不动产提供抵押担保;武汉泰禾房地产开发集团有限公司以其持有的武汉君悦尚品置业有限公司股权提供质押担保,泰禾集团实际控制人黄其森提供个人无限连带责任保证担保。
据北京市第三中级人民法院公布的民事判决书披露,泰禾嘉盈房地产将上述不动产抵押给北京银行太阳宫支行,该院2021年4月判决泰禾嘉盈房地产向北京银行太阳宫支行支付债权融资计划本金9.97亿元、利息及罚息。

图片来源:中国执行信息公开网
公开资料显示,泰禾嘉盈房地产为泰禾集团旗下企业,是福州泰禾房地产开发有限公司的全资子公司。据中国执行信息公开网提供的信息显示,泰禾嘉盈房地产现存10条失信被执行人信息,涉案总金额 837.10 万元。该公司失信被执行人行为具体情形为“有履行能力而拒不履行生效法律文书确定义务”,被执行人的履行情况为“全部未履行”。该公司及其法定代表人被限制高消费达258次之多,涉案总金额高达22.37亿元。
“营利双降”业绩承压半年报披露,截至2025年6月末,北京银行的房地产业贷款余额为1244.94亿元,较2024年同期的1219.23亿元增加25.71亿元。自2022年以来,北京银行的房地产业贷款规模持续增加,且业务规模的行业排名始终保持在前五名内,该行对房地产业贷款的依赖程度由此可见一斑。
数据显示,截至2022~2024年末,北京银行的房地产业贷款余额分别为1096.06亿元、1194.58亿元、1228.46亿元,三年间业务规模增加132.40亿元。
“本行加强重点领域全口径业务统筹监测管控,强化房地产、融资平台、建筑业等重点领域常态化风险排查,严格落实城市房地产融资协调机制、一揽子化债政策要求,‘贷管并重’抓好授信业务全生命周期管控。”北京银行2024年报称,该行“加大房地产、地方政府融资平台、中小金融机构、产能过剩、互联网贷款等重点领域管控力度。增强集中度风险管控,严控大额授信,强化大额风险暴露管理,压降潜在风险客户,严控增量风险。”
北京银行有多少房地产业相关不良资产?该行未披露相关数据。截至2025年6月末,北京银行的不良贷款余额为310.75亿元,较2024年末的289.87亿元增加20.88亿元,增幅为7.20%;不良贷款率为1.30%,较2024年末的1.31%下降0.01个百分点。
针对不良贷款余额增速较快问题,北京银行表示,该行“加大不良处置力度,持续深化不良资产处置工作,全行上下强化协同联动,通过多元化手段,持续加大现金清收力度,提升不良资产清收处置质效,实现不良资产处置额、现金清收额、已核销现金清收额大幅增长;大额疑难不良资产及抵债资产处置取得突破性进展。”
数据显示,进入2025年以来,北京银行的营收规模两度出现负增长。2025年第一季度,该行实现营业收入171.27亿元,较2024年同期的176.90亿元减少5.63亿元,同比下降3.18%。2025年前三季度,该行实现营业收入515.88亿元,同比下降1.08%。
值得注意的是,北京银行还出现“营利双降”现象。该行2025年第三季度实现营业收入153.70亿元,同比下降5.71%;实现归属于母公司股东的净利润60.11亿元,同比下滑1.85%;实现基本每股收益0.27元,同比减少6.90%。
截至2025年6月末,北京银行的资产总额为4.75万亿元,被江苏银行反超,城商行“一哥”易主。截至2025年9月末,江苏银行资产总额继续领先北京银行。在经营业绩、盈利能力和资产质量方面,江苏银行更是对北京银行形成全面碾压优势,北京银行的城商行“一哥”地位全线失守。
多次违规屡罚屡犯记者了解到,北京银行多次因房地产信贷业务违规被罚,涉及该行总行以及北京、西安、长沙、宁波、青岛等多个重要城市的一级分行。
2025年9月,国家金融监督管理总局北京监管局公布的行政处罚信息显示,北京银行总行被查获“违规为土地储备项目融资”、“法人商用房按揭贷款贷前调查不到位”、“消费者权益保护工作不规范”、“贷款风险分类不准确”等多项违法违规行为,该行被处以罚款合计530万元重罚,该行2名相关负责人徐某、王某分别被警告并罚款5万元。
2024年1月,国家金融监督管理总局宁波监管局公布的行政处罚信息显示,北京银行宁波分行因“房地产业务管理不审慎”被罚款50万元,该分行时任公司业务三部公司业务部经理李某程、公司业务九部公司业务部经理张某分别被警告。
2023年6月,原北京银保监局对北京银行总行开出责令改正并罚款4830万元重磅罚单,该行被查获“房地产类业务违规”、“地方政府融资管理不审慎”、“贷款及同业投资‘三查’严重不审慎”、“流动资金贷款管理不到位,贷款资金被挪用”等14项违法违规行为。
与此同时,北京银行总行12名相关负责人同时被罚,其中,霍某辉、沈某峰、李某分别被警告并罚款10万元;周某军、崔某伟、柳某、许某、徐某海、李某非分别被警告并罚款5万元;林某良、王某平、李某分别被警告。
2021年7月,北京银行青岛分行因“违反房地产行业政策”被原青岛银保监局罚款35万元,该分行4名相关负责人姜某、姚某泳、潘某、尹某鹏分别被处以警告处罚。
2021年1月,北京银行长沙分行被查获“违规通过信托通道发放房地产贷款”、“违规向未竣工验收的商业用房发放按揭贷款”、“贷后管理不到位导致流动资金贷款最终违规用于购地”、“违规发放经营性物业贷款以贷转存,并办理存单质押流动资金贷款违规用于房地产领域”、“个人贷款最终违规用于房地产领域”的违法违规行为,该分行被罚款170万元。
2020年12月,北京银行西安分行因“向未竣工验收的商业用房发放按揭贷款”、“违规发放个人按揭贷款”被罚款合计61万元。该分行相关负责人吴某龙被警告。
2020年7月,北京银行北京分行因“房地产开发贷款资金回流用于归还股东投入土地款”、“违规发放贷款、延缓风险暴露”、“员工行为管理不到位”,被处以责令改正并罚款390万元重罚。该分行相关负责人周某被警告。
责任编辑:敖玲
推荐
新媒体矩阵
-

客户端

-

微信

-

百家号

-

同花顺

-

微博

-

搜狐号



